|
|

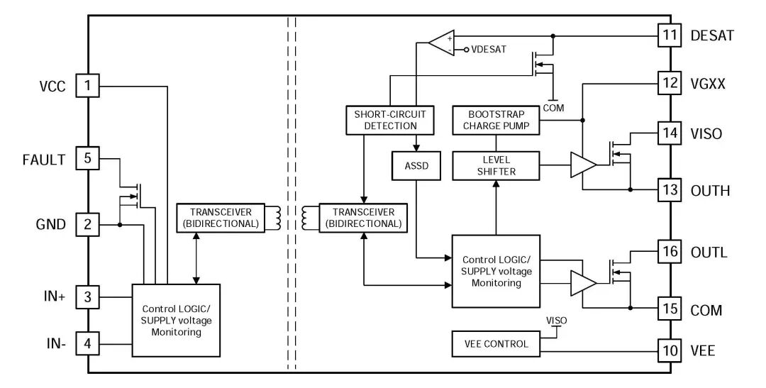
BTD3011R是一款单通道智能带短路保护的隔离门极驱动芯片,采用磁隔离技术,集成了退饱和短路保护、软关断功能、原副边欠压保护、副边电源正压稳压器,极大地简化了外部电路设计,适用于电压等级1200V以内的IGBT或者碳化硅MOSFET驱动。

产品特点
采用磁隔离技术
绝缘电压高达5000Vrms
峰值输出电流可达±15A
可耐受150kV/us CMTI
最高支持开关频率75kHz
副边电源全压最高支持30V
信号输入脚可持续耐受负电压-5V
管脚集成功率器件短路保护和短路保护后软关断功能
集成原副边电源欠压保护功能
集成副边正电源稳压器
应用领域
电机传动
新能源汽车电驱系统
光伏逆变器
储能变流器
空调压缩机
高端变频伺服器
功能框图

产品列表


如您对我们的产品有兴趣,欢迎联系咨询哦!
电话:0755-86713170
邮箱:inquiry@basicsemi.com